交直流數字高壓表(分壓器)
交直流數字高壓表(分壓器)
交直流數字分壓器是一種重要的電測量工具,主要用于將高電壓信號(無論是交流還是直流)分壓至較低的、可安全測量的電壓范圍,并將結果數字化顯示或傳輸。這種設備在現代電子測量、自動化控制及科研實驗中發揮著至關重要的作用。
一、工作原理
交直流數字分壓器的基本工作原理是通過電阻分壓的方式將輸入電壓降低。設備通常由以下幾個部分組成:
分壓電路:由一系列電阻構成,能夠根據設定的分壓比將輸入電壓轉換為較低的輸出電壓。分壓比的選擇依賴于測量的需求。
模擬-數字轉換器(ADC):在經過分壓后的電壓信號會被送入ADC,進行數字化處理。這一過程確保了信號的精確采集與轉換,使得后續的數字處理成為可能。
顯示與控制單元:經過ADC處理后的數字信號會在顯示屏上實時顯示,通常包括測量值信息。
二、參數特點
現代數字分壓器通常具備高精度的ADC,能夠使用測量結果的穩定性和可靠性。
許多交直流數字分壓器能夠同時測量交流和直流電壓,具有廣泛的適用性。
三、設備組成及接線
交直流數字高壓表有高壓表和分壓器組成,分壓器通過連接高壓,轉換低壓部分傳至高壓表上,便于查看數據。
1 - 液晶顯示表頭 2 - 信號采樣輸入 3 - 電源開關4 - 交直流選擇 5 - 高低檔位切換
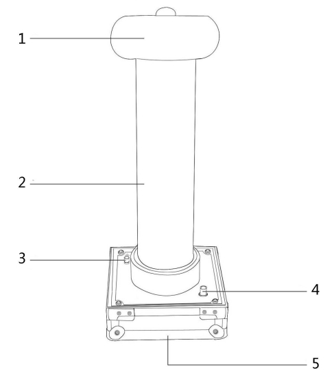
1 - 均壓球 2 - 分壓器絕緣筒 3 - 接地柱4 - 信號采樣輸出 5 - 分壓器底座
具體接線如下:
高壓通過引線接入分壓器上端接線端子柱,分壓器和高壓表通過專用信號線相連,同時都接好地線,確認無誤后,選擇相應的檔位和量限即可開始測量。
四、應用場景
交直流數字分壓器的應用范圍十分廣泛,主要包括以下幾個領域:
電子測試:在電子設備的研發和生產過程中,用于電壓測試和故障排查。通過精確測量電壓,幫助工程師調整電路參數,提高產品質量。
自動化控制:在工業自動化系統中,數字分壓器被用于監測和控制電氣設備的運行狀態。通過實時測量電壓,可以及時發現潛在故障并進行相應的調整。
科研實驗:在電氣和電子工程的研究中,數字分壓器常用于各種實驗,幫助研究人員獲得準確的電壓測量數據,為實驗分析提供支持。
教育培訓:在電氣工程及相關課程的教學中,數字分壓器作為實驗設備,使學生能夠直觀地理解電壓分壓原理及其應用。
最主要應用還是用于校準試驗變壓器和變頻串聯諧振的高壓輸出精度。
五、使用注意事項
在使用交直流數字分壓器時,需要注意以下幾點:
安全操作:由于設備用于高電壓測量,操作人員需佩戴適當的安全防護裝備,確保人身安全。
定期校準:為了確保測量的準確性,建議定期對數字分壓器進行校準和維護,尤其是在高精度測量應用中。
每次使用需要可靠接地,高壓測試線盡量專用耐壓導線,測試線懸空。分壓器和高壓表至少相距兩米以上。
測試人員做試驗時,一定不得靠近高壓分壓器(安全距離兩米以上)